Przejdź do głównej części
Czat

Powiadomienia

Dodaj ogłoszenie
Sprzedam działki
Sprzedam działki
Sprzedam działki
Sprzedam działki
PromujOdśwież

Prywatne

Rodzaj: Działki budowlane

Powierzchnia: 895 m²

Cena za m²: 72.63 zł/m²

Opis

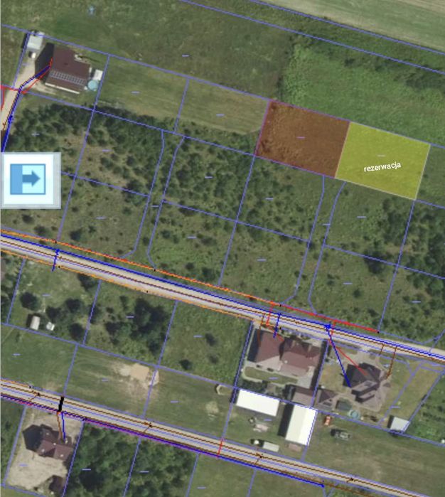
Sprzedam działki w spokojnej okolicy przy ul. Żytniej w Hajnówce o nr 111/15(893m2),111/16(893m2). Działki przeznaczone w Miejscowym planie zagospodarowania pod zabudowę mieszkaniową jednorodzinną. Więcej informacji pod nr. tel.5-3-3-3-0-5-4-8-0
ID: 992543035

Skontaktuj się

Andrzej

Na OLX od październik 2014

Ostatnio online wczoraj o 17:47

xxx xxx xxx

Dodane 11 października 2025

Sprzedam działki

65 000 zł

do negocjacji

Lokalizacja

Location

Hajnówka

Podlaskie

Darmowa aplikacja na Twój telefon