Firmowe
Stan: Nowe
Opis
Oferujemy Państwu kocioł znanego i cenionego producenta jakim jest firma DREW-MET. Model UNI DREX - dolne spalanie - zgazujący drewno - wersja bez wentylatora wyciągowego i sterownika.
Dostawa na terenie Polski jest gratis !
Możliwy montaż na terenie Wodzisław Śląski - Jastrzębie Zdrój - Rybnik !
Zapewniamy najlepszą cenę !!!
Paliwem podstawowym jest drewno opałowe.
Kotły stalowe wodne centralnego ogrzewania DREW-MET typu UNI DREX są kotłami nisko-temperaturowymi zgazowującymi drewno, a wytworzony gaz jest spalany za pomocą specjalnej dyszy ceramicznej, dlatego też, temperatura wody grzewczej na wyjściu z kotła nie może przekraczać 90°C, a ciśnienierobocze 1,5 bar. Przeznaczone są do pracy w instalacjach wodnych centralnego ogrzewania systemu otwartego, grawitacyjnych lub pompowych, posiadających zabezpieczenia zgodne z odpowiednimiprzepisami, a w szczególności PN-B-02416:1991 i BN-71/8864-27. Kocioł wymaga podłączenia zbiornika akumulacyjnego.
W kotłach UNI DREX zachodzi zjawisko tworzenia się gazu palnego poprzez zgazowywanie drewna. Kocioł zgazowujący posiada budowę, która ma wyszczególnione osobne komory, w jednej zachodziproces odgazowania paliwa, czyli produkcja gazu palnego, a w drugiej ceramicznej, następuje spalanie gazów. Palenisko kotła stanowi dolna część komory załadowczej i tam zachodzi proces odgazowywania drewna. W tylnej części komory znajduje się wlot do drugiej komory, czyli dyszy z systemem otworów,wykonanej z ogniotrwałego materiału ceramicznego, która jest komorą spalającą gaz. Wytworzony gaz palny jest spalany w tej że dyszy, co obniża emisję spalin. Do otworów w dyszy powietrze dopływa zza kotła kanałem z wlotem zaopatrzonym w klapkę (zasuwkę) służącą do regulacji ilości dopływającego powietrza wtórnego. Ściany dyszy wykonane są z kształtek ceramicznych z deflektorami odchylającymi strumień spalin, który kierowany jest do wymiennika płomieniówkowego. Palenisko wyposażone jestw ruchomy żeliwny ruszt.
Zalety kotła DREW-MET UNI DREX:
- kocioł zgazujący drewno
- dolne spalanie
- wysoka sprawność spalania drewna
- wymiennik ciepła ze stali kotłowej P265GH
- ruszt żeliwny - ruchomy
- praca niezależna od energii elektrycznej
- kompaktowa budowa
- możliwość zastosowania miarkownika ciągu
PARAMETRY TECHNICZNE:
- Moc nominalna: 13 kW
- Sprawność do 90 % %
- Powierzchnia grzewcza płaszcza wodnego - 1,6 m2
- Pojemność komory załadunkowej - 60 dm3
- Masa kotła (bez wody): 315 kg
- Maksymalne ciśnienie robocze - 1,5 bar
- Wysokość komory paleniska - 650 mm
- Głębokość komory paleniska - 350 mm
- Wymiary otworu zasypowego - 253x235 mm
- Minimalny, wymagany przekrój komina - 18x18
- Minimalna wysokość komina - 7 m
- Średnica wylotu spalin: 180 mm
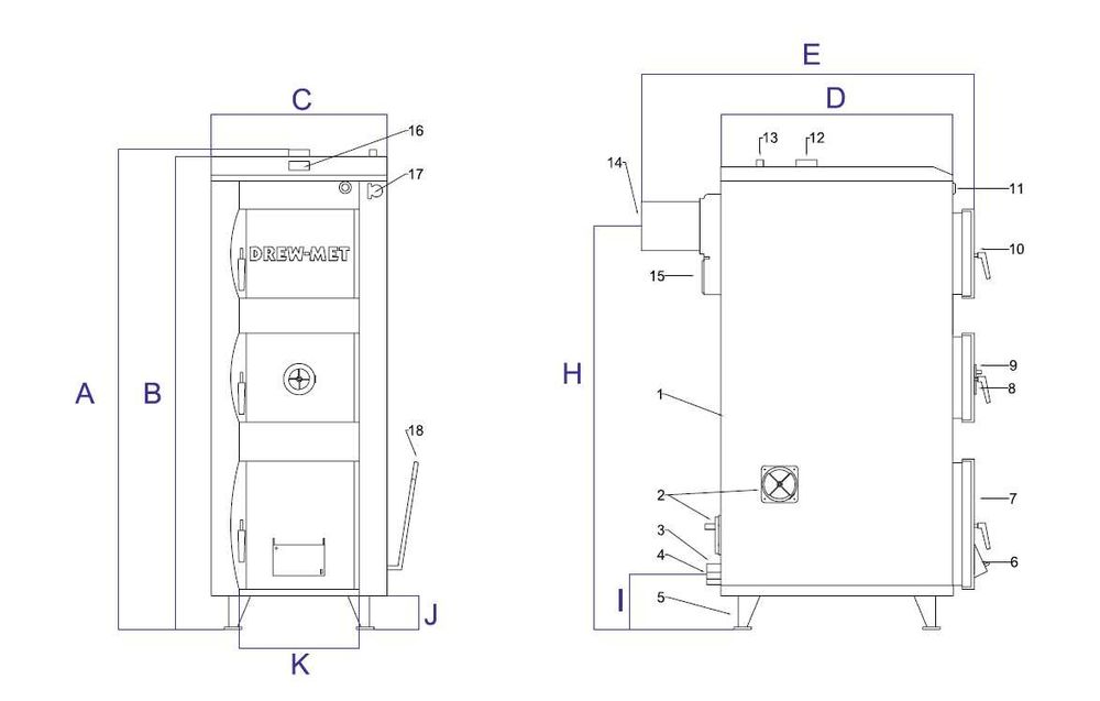
- Szerokość kotła: 445 mm - wymiar C
- Wysokość kotła: 1335 mm - wymiar B
- Głębokość kotła (obudowa) - 670 mm - wymiar D
- Głębokość kotła: 1150 mm (od czopucha do klamki) - wymiar E
- Wysokość do osi czopucha: 1125 mm - wymiar H
Uwaga - jest to tradycyjny kocioł zasypowy - bez zasobnika na opał i automatycznego podawania opału.
Zapewniamy darmowy transport na terenie całego kraju. Dostawa samochodem z windą i wózkiem paletowym więc nie trzeba się martwić o rozładunek. Możliwy jest także odbiór osobisty z naszego magazynu.
Towar nowy z pełną gwarancją producenta.
Za piec mogą Państwo zapłacić dopiero przy odbiorze.
Dane producenta:
DREWMET LUBERA STANISŁAW SP.K.
36-100 Kolbuszowa
ul. Zbożowa 34
Dostawa na terenie Polski jest gratis !
Możliwy montaż na terenie Wodzisław Śląski - Jastrzębie Zdrój - Rybnik !
Zapewniamy najlepszą cenę !!!
Paliwem podstawowym jest drewno opałowe.
Kotły stalowe wodne centralnego ogrzewania DREW-MET typu UNI DREX są kotłami nisko-temperaturowymi zgazowującymi drewno, a wytworzony gaz jest spalany za pomocą specjalnej dyszy ceramicznej, dlatego też, temperatura wody grzewczej na wyjściu z kotła nie może przekraczać 90°C, a ciśnienierobocze 1,5 bar. Przeznaczone są do pracy w instalacjach wodnych centralnego ogrzewania systemu otwartego, grawitacyjnych lub pompowych, posiadających zabezpieczenia zgodne z odpowiednimiprzepisami, a w szczególności PN-B-02416:1991 i BN-71/8864-27. Kocioł wymaga podłączenia zbiornika akumulacyjnego.
W kotłach UNI DREX zachodzi zjawisko tworzenia się gazu palnego poprzez zgazowywanie drewna. Kocioł zgazowujący posiada budowę, która ma wyszczególnione osobne komory, w jednej zachodziproces odgazowania paliwa, czyli produkcja gazu palnego, a w drugiej ceramicznej, następuje spalanie gazów. Palenisko kotła stanowi dolna część komory załadowczej i tam zachodzi proces odgazowywania drewna. W tylnej części komory znajduje się wlot do drugiej komory, czyli dyszy z systemem otworów,wykonanej z ogniotrwałego materiału ceramicznego, która jest komorą spalającą gaz. Wytworzony gaz palny jest spalany w tej że dyszy, co obniża emisję spalin. Do otworów w dyszy powietrze dopływa zza kotła kanałem z wlotem zaopatrzonym w klapkę (zasuwkę) służącą do regulacji ilości dopływającego powietrza wtórnego. Ściany dyszy wykonane są z kształtek ceramicznych z deflektorami odchylającymi strumień spalin, który kierowany jest do wymiennika płomieniówkowego. Palenisko wyposażone jestw ruchomy żeliwny ruszt.
Zalety kotła DREW-MET UNI DREX:
- kocioł zgazujący drewno
- dolne spalanie
- wysoka sprawność spalania drewna
- wymiennik ciepła ze stali kotłowej P265GH
- ruszt żeliwny - ruchomy
- praca niezależna od energii elektrycznej
- kompaktowa budowa
- możliwość zastosowania miarkownika ciągu
PARAMETRY TECHNICZNE:
- Moc nominalna: 13 kW
- Sprawność do 90 % %
- Powierzchnia grzewcza płaszcza wodnego - 1,6 m2
- Pojemność komory załadunkowej - 60 dm3
- Masa kotła (bez wody): 315 kg
- Maksymalne ciśnienie robocze - 1,5 bar
- Wysokość komory paleniska - 650 mm
- Głębokość komory paleniska - 350 mm
- Wymiary otworu zasypowego - 253x235 mm
- Minimalny, wymagany przekrój komina - 18x18
- Minimalna wysokość komina - 7 m
- Średnica wylotu spalin: 180 mm
- Szerokość kotła: 445 mm - wymiar C
- Wysokość kotła: 1335 mm - wymiar B
- Głębokość kotła (obudowa) - 670 mm - wymiar D
- Głębokość kotła: 1150 mm (od czopucha do klamki) - wymiar E
- Wysokość do osi czopucha: 1125 mm - wymiar H
Uwaga - jest to tradycyjny kocioł zasypowy - bez zasobnika na opał i automatycznego podawania opału.
Zapewniamy darmowy transport na terenie całego kraju. Dostawa samochodem z windą i wózkiem paletowym więc nie trzeba się martwić o rozładunek. Możliwy jest także odbiór osobisty z naszego magazynu.
Towar nowy z pełną gwarancją producenta.
Za piec mogą Państwo zapłacić dopiero przy odbiorze.
Dane producenta:
DREWMET LUBERA STANISŁAW SP.K.
36-100 Kolbuszowa
ul. Zbożowa 34
ID: 811926642
xxx xxx xxx

