Firmowe
Stan: Nowe
Opis
Kocioł hybrydowy, dwupaliwowy na pellet i drewno KIPI MPM Wood Pell 14 kW z zasobnikiem na pellet 50x65x120 i sterownikiem ECOtouch 860
ZESTAW ZAWIERA:
Kocioł Wood PEll 14 kW
Palnik Kipi 16kW
Podajnik pelletu o długości ok 2m
Zasobnik na pellet 50x65x120
Sterownik ECOtouch 860
MPM Wood Pell to urządzenie przystosowane do spalania dwóch paliw pelletu oraz drewna. Kocioł posiada dwa certyfikaty ECODESIGN zarówno na pellet, jak i drewno. Zakres mocy urządzenia od 4 kW do 14 kW.
Kocioł MPM Wood Pell spala pellet w sposób automatyczny. Posiada: dotykowy sterownik, wyposażenie w samoczyszczący palnik z obrotową komorą spalania marki KIPI, obsługa pracy pomp czy zaworów instalacji C.O. i C.W.U. Paliwo zastępcze to polana drzewa liściastego spalane w procesie zgazowywania paliwa, po przejściu kotła w pracę z załadunkiem ręcznym ( zmiania trybu z automatycznego na ręczny i odwrotnie odbywa się w sposób ręczny).
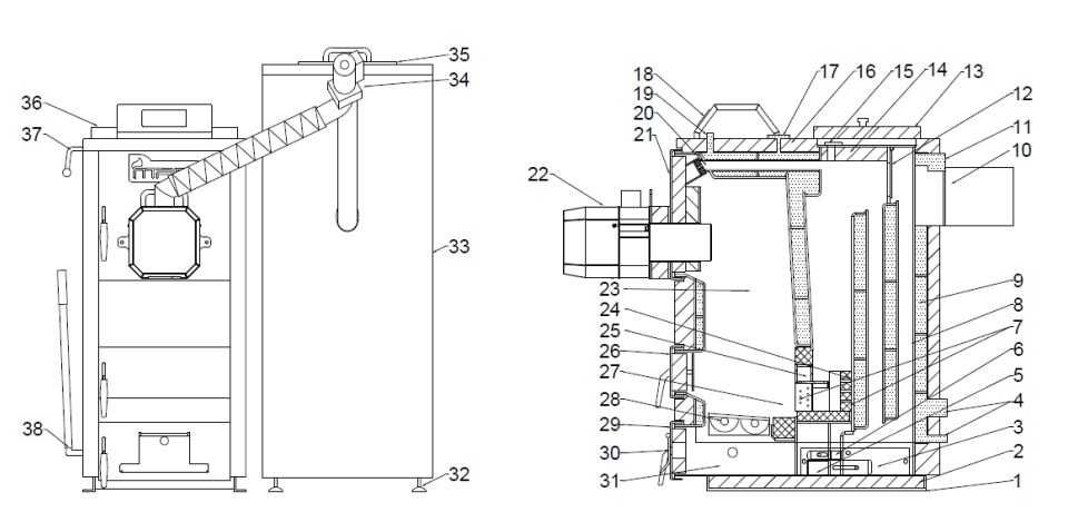
Kocioł MPM Wood Pell jest urządzeniem o nowoczesnej konstrukcji. Przystosowanym do spalania paliw stałych, biomasa w postaci granulatu drzewnego – pellet. Kocioł wyposażonym w układ automatycznego podawania paliwa (palnik z obrotową komorą spalania) do komory w której odbywa się spalanie pelletu. Pellet do komory palnika dostarczany jest za pomocą podajnika składającego się z rury nierdzewnej z wizjerem zapewniającym kontrolę pracy podajnika, w której umieszczona jest spirala bezrdzeniowa transportująca pellet z zasobnika do palnika, gdzie dawka paliwa transportowana jest podajnikiem ślimakowym do komory spalania. Po przetransportowaniu odpowiedniej ilości pelletu następuje jego zapłon poprzez zapalarkę (grzałka elektryczna). Po zapłonie palnik przechodzi w tryb pracy automatycznej. Zasobnik z palnikiem połączony jest poprzez rurę „spiro”. Taki rozwiązanie zapewnia ochronę przed niekontrolowanym cofnięciem się płomienia do zasobnika. Praca palnika odbywa się automatycznie i nie wymaga nadzoru. Zastosowanie w palniku obrotowej komory spalania uniemożliwia przywieranie części żużlu powstającego podczas procesu spalania do tej komory. Poprzez cykliczny obrót popiół powstający w końcowej fazie przesuwany jest do przodu komory spalania w wyniku czego zostaje on usunięty z komory po czym opada do popielnika. W czasie przepływu przez wymiennik kotła spaliny oddając ciepło ulegają wychłodzeniu i usuwane są przez stalowy czopuch. Częstotliwość oraz wielkość dawki paliwa oraz strumień objętości powietrza potrzebny do prawidłowego spalania regulowany jest automatycznie przez sterownik elektroniczny. Zamontowany jest on na górze kotła, poprzez odczyty danych z czujników temperatury kontroluje pracę podajnika, wentylatora, pomp C.O. oraz C.W.U. i innych urządzeń regulacyjnych. Regulator wyposażony jest w czujnik kontroli temperatury oraz ogranicznik temperatury bezpieczeństwa, który powoduje odcięcie zasilania elektrycznego do wentylatora i motoreduktora podajnika w przypadku wzrostu temperatury wody w kotle powyżej 95°C. Paliwo zastępcze to polana drzewa liściastego (buk lub brzoza )spalane w procesie zgazowywania paliwa, po przejściu kotła w pracę z załadunkiem ręcznym*. Kocioł posiada budowę, która ma wyszczególnione osobne komory, w jednej zachodzi proces odgazowania paliwa (produkcja gazu palnego), w drugiej - ceramicznej, następuje spalanie gazów. Kocioł powinien pracować w połączeniu ze zbiornikiem buforowym.
Kocioł wyposażony jest w palnik obrotowy KIPI 16kW
Zalety palnika Kipi:
opatentowany system spalania opału
obrotowa komora paleniskowa i nadmuchowa gwarantuje brak spieków i prawie całkowite spalenie opału
dzięki specjalnej budowie w palniku dochodzi do zawirowania płomienia
palnik pracuje w trybie ciągłym, nie zapycha się
jest całkowicie SAMOCZYSZCZĄCY
posiada automatyczną zapalarkę
Najlepszy pellet do palnika powinien mieć średnicę od 6 do 8 mm, długość od 5 do 30 mm, o maksymalnej zawartości popiołu do 2 %. W palniku można również spalać pellet o gorszej jakości (np. z łusek słonecznika) oraz agro-pelletu (np. pelletu ze słomy rzepakowej).
Sterownik ecoMAX860
Regulator ecoMax860 to urządzenie wykonane w zaawansowanej technologii. Kontroluje proces spalania. Standardowo obsługuje obieg grzewczy CO i CWU oraz obieg mieszaczowy.
Regulator ecoMAX860 jest przeznaczony do sterowania pracą kotła z automatycznym podawaniem paliwa stałego z zapalarką. Detekcja płomienia następuje z wykorzystaniem optycznego czujnika jasności płomienia. Może sterować pracą obiegu ciepłej wody użytkowej a także pracą regulowanych obiegów grzewczych, mieszaczowych po podłączeniu dodatkowego modułu B. Temperaturę zadaną obiegów grzewczych można zadawać na podstawie wskazań czujnika pogodowego. Możliwość współpracy z termostatami pokojowymi sprzyja utrzymywaniu temperatury komfortu w ogrzewanych pomieszczeniach.
Regulator posiada możliwość współpracy z dodatkowym panelem pokojowym ecoSTER TOUCH umieszczonym w pomieszczeniach mieszkalnych, z modułem sondy λ oraz dodatkowymi modułami B, C i modułem internetowym ecoNET300.
Kocioł MPM Wood Pell wyposażony jest w wygodne, duże drzwiczki załadowcze wyposażone w palnik pelletowy, w przedniej części posiada również drzwiczki rozpalania i popielnikowe. Innowacje stanowi wprowadzenie systemu oddymiania komory załadowczej, kanału oddymiającego kotła oraz metody wymuszania ciągu spalin, który zapobiegaj wydostaniu się dymu do pomieszczenia kotłowni podczas dokładania opału. W części górnej kotła, pod klapą obudowy, umiejscowiona jest wyczystka dająca dostęp do wszystkich kanałów wymiennika ciepła oraz dyszy ceramicznej. W wyczystce górnej znajduje się wizjer płomienia. W obydwu bocznych ścianach kotła znajduje się wyczystka, służąca do usuwania zanieczyszczeń powstałych w procesie spalania. Kocioł w wersji standardowej przystosowany jest do pracy z wykorzystaniem naturalnego ciągu powietrza, regulowanego przy użyciu mechanicznego miarkownika ciągu. W górnej części kotła znajduje się mufa miarkownika ciągu, zaworu bezpieczeństwa oraz termometr. W tylnej ścianie umiejscowiona jest mufa wody zasilającej i powrotnej, mufa zaworu termostatycznego DBV oraz mufa zaworu spustowego. Gorące spaliny oddają swoje ciepło, przechodząc przez stalowy wymiennik ciepła stanowiący system pionowych kanałów konwekcyjnych, gdzie ulegają schłodzeniu. Ochłodzone spaliny opuszczają kocioł przez stalowy czopuch, połączony z przewodem kominowym znajdujący się w tylnej części kotła. Wymiennik ciepła w całości izolowany jest wełną mineralną o grubości 40 mm
ZESTAW ZAWIERA:
Kocioł Wood PEll 14 kW
Palnik Kipi 16kW
Podajnik pelletu o długości ok 2m
Zasobnik na pellet 50x65x120
Sterownik ECOtouch 860
MPM Wood Pell to urządzenie przystosowane do spalania dwóch paliw pelletu oraz drewna. Kocioł posiada dwa certyfikaty ECODESIGN zarówno na pellet, jak i drewno. Zakres mocy urządzenia od 4 kW do 14 kW.
Kocioł MPM Wood Pell spala pellet w sposób automatyczny. Posiada: dotykowy sterownik, wyposażenie w samoczyszczący palnik z obrotową komorą spalania marki KIPI, obsługa pracy pomp czy zaworów instalacji C.O. i C.W.U. Paliwo zastępcze to polana drzewa liściastego spalane w procesie zgazowywania paliwa, po przejściu kotła w pracę z załadunkiem ręcznym ( zmiania trybu z automatycznego na ręczny i odwrotnie odbywa się w sposób ręczny).
Kocioł MPM Wood Pell jest urządzeniem o nowoczesnej konstrukcji. Przystosowanym do spalania paliw stałych, biomasa w postaci granulatu drzewnego – pellet. Kocioł wyposażonym w układ automatycznego podawania paliwa (palnik z obrotową komorą spalania) do komory w której odbywa się spalanie pelletu. Pellet do komory palnika dostarczany jest za pomocą podajnika składającego się z rury nierdzewnej z wizjerem zapewniającym kontrolę pracy podajnika, w której umieszczona jest spirala bezrdzeniowa transportująca pellet z zasobnika do palnika, gdzie dawka paliwa transportowana jest podajnikiem ślimakowym do komory spalania. Po przetransportowaniu odpowiedniej ilości pelletu następuje jego zapłon poprzez zapalarkę (grzałka elektryczna). Po zapłonie palnik przechodzi w tryb pracy automatycznej. Zasobnik z palnikiem połączony jest poprzez rurę „spiro”. Taki rozwiązanie zapewnia ochronę przed niekontrolowanym cofnięciem się płomienia do zasobnika. Praca palnika odbywa się automatycznie i nie wymaga nadzoru. Zastosowanie w palniku obrotowej komory spalania uniemożliwia przywieranie części żużlu powstającego podczas procesu spalania do tej komory. Poprzez cykliczny obrót popiół powstający w końcowej fazie przesuwany jest do przodu komory spalania w wyniku czego zostaje on usunięty z komory po czym opada do popielnika. W czasie przepływu przez wymiennik kotła spaliny oddając ciepło ulegają wychłodzeniu i usuwane są przez stalowy czopuch. Częstotliwość oraz wielkość dawki paliwa oraz strumień objętości powietrza potrzebny do prawidłowego spalania regulowany jest automatycznie przez sterownik elektroniczny. Zamontowany jest on na górze kotła, poprzez odczyty danych z czujników temperatury kontroluje pracę podajnika, wentylatora, pomp C.O. oraz C.W.U. i innych urządzeń regulacyjnych. Regulator wyposażony jest w czujnik kontroli temperatury oraz ogranicznik temperatury bezpieczeństwa, który powoduje odcięcie zasilania elektrycznego do wentylatora i motoreduktora podajnika w przypadku wzrostu temperatury wody w kotle powyżej 95°C. Paliwo zastępcze to polana drzewa liściastego (buk lub brzoza )spalane w procesie zgazowywania paliwa, po przejściu kotła w pracę z załadunkiem ręcznym*. Kocioł posiada budowę, która ma wyszczególnione osobne komory, w jednej zachodzi proces odgazowania paliwa (produkcja gazu palnego), w drugiej - ceramicznej, następuje spalanie gazów. Kocioł powinien pracować w połączeniu ze zbiornikiem buforowym.
Kocioł wyposażony jest w palnik obrotowy KIPI 16kW
Zalety palnika Kipi:
opatentowany system spalania opału
obrotowa komora paleniskowa i nadmuchowa gwarantuje brak spieków i prawie całkowite spalenie opału
dzięki specjalnej budowie w palniku dochodzi do zawirowania płomienia
palnik pracuje w trybie ciągłym, nie zapycha się
jest całkowicie SAMOCZYSZCZĄCY
posiada automatyczną zapalarkę
Najlepszy pellet do palnika powinien mieć średnicę od 6 do 8 mm, długość od 5 do 30 mm, o maksymalnej zawartości popiołu do 2 %. W palniku można również spalać pellet o gorszej jakości (np. z łusek słonecznika) oraz agro-pelletu (np. pelletu ze słomy rzepakowej).
Sterownik ecoMAX860
Regulator ecoMax860 to urządzenie wykonane w zaawansowanej technologii. Kontroluje proces spalania. Standardowo obsługuje obieg grzewczy CO i CWU oraz obieg mieszaczowy.
Regulator ecoMAX860 jest przeznaczony do sterowania pracą kotła z automatycznym podawaniem paliwa stałego z zapalarką. Detekcja płomienia następuje z wykorzystaniem optycznego czujnika jasności płomienia. Może sterować pracą obiegu ciepłej wody użytkowej a także pracą regulowanych obiegów grzewczych, mieszaczowych po podłączeniu dodatkowego modułu B. Temperaturę zadaną obiegów grzewczych można zadawać na podstawie wskazań czujnika pogodowego. Możliwość współpracy z termostatami pokojowymi sprzyja utrzymywaniu temperatury komfortu w ogrzewanych pomieszczeniach.
Regulator posiada możliwość współpracy z dodatkowym panelem pokojowym ecoSTER TOUCH umieszczonym w pomieszczeniach mieszkalnych, z modułem sondy λ oraz dodatkowymi modułami B, C i modułem internetowym ecoNET300.
Kocioł MPM Wood Pell wyposażony jest w wygodne, duże drzwiczki załadowcze wyposażone w palnik pelletowy, w przedniej części posiada również drzwiczki rozpalania i popielnikowe. Innowacje stanowi wprowadzenie systemu oddymiania komory załadowczej, kanału oddymiającego kotła oraz metody wymuszania ciągu spalin, który zapobiegaj wydostaniu się dymu do pomieszczenia kotłowni podczas dokładania opału. W części górnej kotła, pod klapą obudowy, umiejscowiona jest wyczystka dająca dostęp do wszystkich kanałów wymiennika ciepła oraz dyszy ceramicznej. W wyczystce górnej znajduje się wizjer płomienia. W obydwu bocznych ścianach kotła znajduje się wyczystka, służąca do usuwania zanieczyszczeń powstałych w procesie spalania. Kocioł w wersji standardowej przystosowany jest do pracy z wykorzystaniem naturalnego ciągu powietrza, regulowanego przy użyciu mechanicznego miarkownika ciągu. W górnej części kotła znajduje się mufa miarkownika ciągu, zaworu bezpieczeństwa oraz termometr. W tylnej ścianie umiejscowiona jest mufa wody zasilającej i powrotnej, mufa zaworu termostatycznego DBV oraz mufa zaworu spustowego. Gorące spaliny oddają swoje ciepło, przechodząc przez stalowy wymiennik ciepła stanowiący system pionowych kanałów konwekcyjnych, gdzie ulegają schłodzeniu. Ochłodzone spaliny opuszczają kocioł przez stalowy czopuch, połączony z przewodem kominowym znajdujący się w tylnej części kotła. Wymiennik ciepła w całości izolowany jest wełną mineralną o grubości 40 mm
ID: 909433671
xxx xxx xxx

