Firmowe
Stan: Nowe
Opis
Podnośnik dwukolumnowy Nussbaum Smart Lift 2.30 SLE wyposażonych w elektroniczną synchronizację i napęd dwusilnikowy. Przeznaczony do obsługi samochodów osobowych, terenowych i dostawczych o masie do 3000 kg.
Mechanizm podnoszenia jest wyposażony samosmarujące nakrętki z tworzywa sztucznego (Nylatron), na które NUSSBAUM udziela 5 lat gwarancji. Podnośnik ma asymetryczną budowę, dzięki czemu ułatwiony jest dostęp do kabiny pojazdu. Wyposażony w podwójne ramiona o niskim punkcie podnoszenia i obracane w zakresie 180 stopni. Sterowanie podnośnikiem zintegrowane jest z kolumnami, a panel kontrolny posiada wyświetlaczem LED i jest wbudowany w kolumnę podnośnika. Elektroniczna synchronizacja pozwala na równomierne podnoszenie wózków nośnych. Podnośnik jest zaopatrzony w gniazdko 230V i szybkozłącze sprężonego powietrza (wbudowane w kolumnę podnośnika). Silniki zabudowane są w kolumnie.
Cechy:
Brak ramy - wolny przejazd
Asymetryczna budowa - dostęp do drzwi pojazdu z obu stron
Automatyczna blokada ramion
Napęd elektro-mechaniczny poprzez dwa silniki
Elektroniczna synchronizacja wózków
5 lat gwarancji na śrubę i nakrętkę
Cicha praca
Regulowana wysokość podejmowania pojazdu: 95 - 140 mm (przy ramionach MiniMax: 75 - 185 mm)
Podnośnik występuje w następujących wersjach:
Smart Lift 2.30 SLE - wyposażony w Energy Set (gniazdo elektryczne 230V i przyłącze pneumatyczne zabudowane na jednej z kolumn podnośnika)
Smart Lift 2.30 SLE DT - wyposażony w Easy Set i podwójne ramiona teleskopowe do podnoszenia. Krótkie ramiona nośne wyposażone są również w podwójny mechanizm teleskopowy dla większego zakresu regulacji przy krótszych i dłuższych pojazdach.
Smart Lift 2.30 SLE MM - wyposażony w Easy Set i ramiona z końcówką typu Mini Max (MM) do podnoszenia pojazdów z małym rozstawem osi oraz pojazdów wyposażonych w obniżone listwy progowe (z niskim prześwitem). Szybka i łatwa regulacja różnych poziomów wysokości w pionie. Wiele różnych poziomów wysokości możemy w bardzo łatwy sposób ustawić uchwytem, który regulujemy nogą (bez konieczności schylania się).
Fundament:
Pod podnośnik wymagany jest jednolity fundament o min. grubości 200 mm wykonany w klasie B 25.
Grubość warstwy nawierzchniowej w przypadku posadzki wykonanej np. z jastrychu, płytek, powłoki z tworzywa sztucznego itp., nie powinna przekraczać 50 mm. Głębokość zagłębienia kotwy w warstwie betonowej fundamentu powinna wynosić min. 150mm.
Wymiary płyty fundamentowej: 3400 mm x 1600 mm.
Udżwig: 3000 kg
Wysokość podnoszenia: 2010 mm
Wysokość całkowita: 4650 mm
Szerokość całkowita: 3000 mm
Szerokość między kolumnami: 2460 mm
Szerokość przejazdowa: 2230 mm
Minimalny prześwit pojazdu: 95 mm
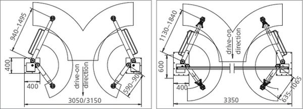
Zasięg ramion krótkich: 590 - 900 mm
Zasięg ramion długich: 940 - 1495 mm
Wysokość kolumn: 2882 mm
Czas podnoszenia: 40 s
Moc silnika: 2 x 1,5 kW
Zasilanie: 380-415 V 3ph 50 Hz
Masa własna: 630 kg
Mechanizm podnoszenia jest wyposażony samosmarujące nakrętki z tworzywa sztucznego (Nylatron), na które NUSSBAUM udziela 5 lat gwarancji. Podnośnik ma asymetryczną budowę, dzięki czemu ułatwiony jest dostęp do kabiny pojazdu. Wyposażony w podwójne ramiona o niskim punkcie podnoszenia i obracane w zakresie 180 stopni. Sterowanie podnośnikiem zintegrowane jest z kolumnami, a panel kontrolny posiada wyświetlaczem LED i jest wbudowany w kolumnę podnośnika. Elektroniczna synchronizacja pozwala na równomierne podnoszenie wózków nośnych. Podnośnik jest zaopatrzony w gniazdko 230V i szybkozłącze sprężonego powietrza (wbudowane w kolumnę podnośnika). Silniki zabudowane są w kolumnie.
Cechy:
Brak ramy - wolny przejazd
Asymetryczna budowa - dostęp do drzwi pojazdu z obu stron
Automatyczna blokada ramion
Napęd elektro-mechaniczny poprzez dwa silniki
Elektroniczna synchronizacja wózków
5 lat gwarancji na śrubę i nakrętkę
Cicha praca
Regulowana wysokość podejmowania pojazdu: 95 - 140 mm (przy ramionach MiniMax: 75 - 185 mm)
Podnośnik występuje w następujących wersjach:
Smart Lift 2.30 SLE - wyposażony w Energy Set (gniazdo elektryczne 230V i przyłącze pneumatyczne zabudowane na jednej z kolumn podnośnika)
Smart Lift 2.30 SLE DT - wyposażony w Easy Set i podwójne ramiona teleskopowe do podnoszenia. Krótkie ramiona nośne wyposażone są również w podwójny mechanizm teleskopowy dla większego zakresu regulacji przy krótszych i dłuższych pojazdach.
Smart Lift 2.30 SLE MM - wyposażony w Easy Set i ramiona z końcówką typu Mini Max (MM) do podnoszenia pojazdów z małym rozstawem osi oraz pojazdów wyposażonych w obniżone listwy progowe (z niskim prześwitem). Szybka i łatwa regulacja różnych poziomów wysokości w pionie. Wiele różnych poziomów wysokości możemy w bardzo łatwy sposób ustawić uchwytem, który regulujemy nogą (bez konieczności schylania się).
Fundament:
Pod podnośnik wymagany jest jednolity fundament o min. grubości 200 mm wykonany w klasie B 25.
Grubość warstwy nawierzchniowej w przypadku posadzki wykonanej np. z jastrychu, płytek, powłoki z tworzywa sztucznego itp., nie powinna przekraczać 50 mm. Głębokość zagłębienia kotwy w warstwie betonowej fundamentu powinna wynosić min. 150mm.
Wymiary płyty fundamentowej: 3400 mm x 1600 mm.
Udżwig: 3000 kg
Wysokość podnoszenia: 2010 mm
Wysokość całkowita: 4650 mm
Szerokość całkowita: 3000 mm
Szerokość między kolumnami: 2460 mm
Szerokość przejazdowa: 2230 mm
Minimalny prześwit pojazdu: 95 mm
Zasięg ramion krótkich: 590 - 900 mm
Zasięg ramion długich: 940 - 1495 mm
Wysokość kolumn: 2882 mm
Czas podnoszenia: 40 s
Moc silnika: 2 x 1,5 kW
Zasilanie: 380-415 V 3ph 50 Hz
Masa własna: 630 kg
ID: 538727302
xxx xxx xxx
